
Cup holders have come a long way.
Some of you, like me, might be old enough to remember when vehicles didn’t come with cup holders. My 1965 Mercury Comet? No cup holders, but the chrome on the dash more than made up for it.
For a while, there were those glove box lids that dropped down and offered two shallow, circular indentations where, if you were brave enough, you could put a soda can. Of course, any big pothole or sudden stop meant disaster for anyone sitting in the passenger seat.
And that’s the other thing. Assuming you had no passenger playing the role of drink handler, you’d have to stretch across the vehicle to reach for your drink.

Personally, I can only recall one person ever using a glove box lid as a drink holder. My son, who was around 7 at the time, thought he had discovered the coolest thing until I explained how unstable it was. I didn’t like raining on his parade, but I didn’t like the idea of his pants and the carpet getting soaked.
There were those window-mounted cup holders. They weren’t too bad assuming you didn’t have to roll the window up and down too often.
An interesting trend in the 80s that didn’t even involve a cup holder were those narrow-necked, anti-spill coffee cups. Thanks to its thick, rubber non-slip bottom, you could just park it on the dash and watch that hot coffee fog up the windshield. Most of us still have one of those relics in the cupboard somewhere.
Of course now, cup holder design has been taken to a whole new level. For instance, engineers at Nissan not only gave the Titan XD pickup 16 cup holders, they also made sure that some of those beverage holsters could accept popular 32 oz. drink bottles. You have to appreciate thinking like that.
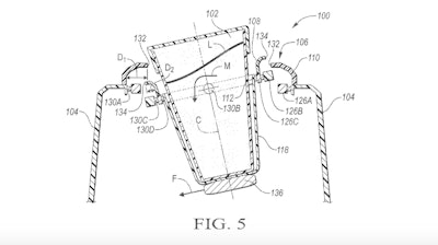
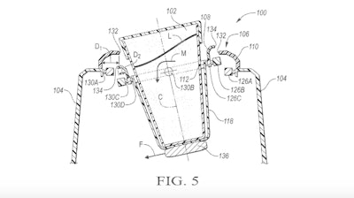
Now Ford is reaching for new heights with its motion sensitive drink holder. Published recently by the U.S. Patent Office, this cup holder features a gimbal set that compensates for vehicle movement to minimize spills. Sounds great for people like me who would rather go without the top on their thermos cup. While there’s no guarantee that it will make it to market, I’d love to test one. Makes me want to do doughnuts just thinking about it.